產品中心
PT100溫度傳感器
PT100熱電阻溫度傳感器,利用鉑電阻的阻值隨溫度變化而變化,并呈一定函數關系的特性來進行測溫。
【技術參數】
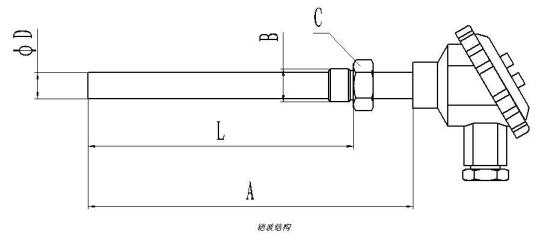
熱電阻類別 型號 分度號 測量范圍 0℃時電阻值R0 允許偏差值△℃ 鉑電阻 DMPCT Pt100、 Pt1000 -50~+500℃ A級100±0.06Ω A級±(0.15+0.002|t|) B級100±0.12Ω B級±(0.30+0.005|t|) 【產品尺寸】

【安裝事項】
熱電阻應避免安裝在距加熱體太近處,應盡量安裝在震動很小的地方,同時要便于施工和維護。安裝位置應盡可能保持垂直,但在有流速時則必須傾斜安裝。接線盒出孔應向下方。熱電阻應按規定接線,一般采用三線制。連接導線應采用絕緣(最好是屏蔽)銅線,其截面積應≥1.0平方毫米,導線的阻值應按顯示儀表的規定配準。
由于熱惰性會使熱電阻阻值變化滯后,為消除誤差,應盡可能地減少熱電阻保護管外徑,適當增加熱電阻的插入深度使熱電阻受熱部位增加。要經常檢查保護狀況,發現氧化或變形應立即采取措施,并定期進行校驗。
熱響應時間:<30S;
最小置入深度:熱電阻的最小置入深度≥10mm(特殊要求可協商);
絕緣強度:100MΩ/100VDC;
允通電流:≤5mA;
公稱壓力:一般是指在工件溫度下保護管所能承受的靜態外壓力而不破裂。
PT100熱電阻溫度傳感器,利用鉑電阻的阻值隨溫度變化而變化,并呈一定函數關系的特性來進行測溫。
通常用來與溫度變送器顯示儀表和計算機配套,直接測量各種生產過程中-50℃~+500℃范圍內液體和氣體介質以及固體表面等的溫度。

